
On August 7, 2025, information from the National Intellectual Property Administration shows that BYD Co., Ltd. has obtained a patent named "Battery Pack Shell, Battery Pack and Electrical Equipment", with the authorization announcement number CN223193932U, and the application date was September 2024.
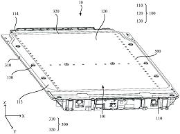
The patent abstract discloses a battery pack housing, a battery pack and an electrical device, which relate to the field of battery technology. The battery pack housing of the present application includes: a tray assembly, which includes: a tray body, a top cover and multiple lifting lugs. The tray body defines a cavity with an opening at the top. The top cover seals the cavity. Multiple lifting lugs are provided on the tray body and at least on the opposite sides of the cavity. The lifting lugs are used for threading through first fastening members. A first sealing member is provided on the top of the tray assembly and extends along the periphery of the cavity. At least part of the multiple lifting lugs are located within the area enclosed by the first sealing member.